世語圖說
2025年11月06日
聯繫我們
首頁
運動
12歲天才看齊全紅嬋?一年追79分有戲?對比陳芋汐張家齊都差太遠
2024-09-28
福寶寶
反饋
6
/
7
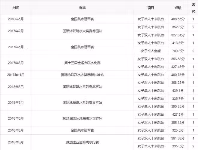
張家齊12歲時參與全國跳水冠軍賽,她的成績是408.55分冠軍,她12歲的成績比李蕊汐49.8分,張家齊的年齡可不比李蕊汐大一歲,張家齊也是12歲參與了全國賽,所以啊,李蕊汐跟這些世界冠軍、奧運冠軍的差距不是一星半點。
上一頁
6
/
7
下一頁
中國大師賽!4大世界冠軍出局,男雙爆冷門,國羽女單大獲全勝
伏嵐晨 • 47K次觀看
恭喜湖人,拒絕退役!父子三人同場競技!「洛杉磯詹姆斯隊」誕生
伏嵐晨 • 8K次觀看
鄧利維暴怒!讓庫明加滾出辦公室,庫里勸架被推倒在地,格林怒了
伏嵐晨 • 3K次觀看
爆大冷!奧運冠軍被絕殺,國羽2大將出局,女單4強誕生,黑馬逆轉
伏嵐晨 • 3K次觀看
詹姆斯:歷史最佳不能只有一個人,除了我還有2個人也有資格
伏嵐晨 • 3K次觀看
誤判風波影響心態!韓悅2一1逆轉黑馬放聲怒吼 陳雨菲社媒為她辯護
伏嵐晨 • 7K次觀看
再見里夫斯!史詩級5換4交易方案!馬刺組新三巨頭,詹姆斯配索漢
伏嵐晨 • 2K次觀看
無解,史詩級6換2交易,湖人豪組超級三巨頭,西部冠軍沒懸念了
伏嵐晨 • 3K次觀看
勇士終於出手了,17+7冠軍中鋒加盟勇士,庫里激動表態
伏嵐晨 • 11K次觀看
別讓冠軍寒了心!入學僅4天,噁心的事發生,官媒:全紅嬋自己決定
董寬楓 • 34K次觀看
郭晶晶也沒料到,18歲官宣喜訊的全紅嬋,越來越優秀,向她看齊
董寬楓 • 5K次觀看
陳若琳調侃全妹大學開學後要不要談場校園戀?全紅嬋反應笑翻全場
董寬楓 • 4K次觀看
郭晶晶怎麼也沒有想到,官宣喜訊的全紅嬋,會和她走了同一條老路**
包瑗艷 • 4K次觀看
終結5連敗!韓悅終結女單第一人安洗瑩不敗神話,挽回中國隊顏面
伏嵐晨 • 7K次觀看
全紅嬋又瘦了!身形苗條肌肉明顯,回國家隊不換教練:陳若琳繼續帶她
福寶寶 • 3K次觀看
巴特勒宣布離隊!勇士管理層做法太過分,新賽季徹底完了
伏嵐晨 • 9K次觀看
正式簽約加盟!再見,湖人太子爺!永別了,NBA!
伏嵐晨 • 8K次觀看
簽約達成,恭喜勇士!兜兜轉轉還是留隊,庫里的第5冠要來了
伏嵐晨 • 5K次觀看
3大外協巨星退出中國大滿貫!國乒人海戰術成功,一輪游5000美元都不來
伏嵐晨 • 4K次觀看
FIBA男籃排名出爐!美國第1,日本第22,中國排名出乎意料
伏嵐晨 • 4K次觀看
在中國地盤羞辱國羽!態度囂張!安洗瑩得罪人,網友:必須報仇
伏嵐晨 • 4K次觀看
再見湖人!詹姆斯小弟離隊,聯盟史詩級交易達成
伏嵐晨 • 2K次觀看
周繼紅哭了,陳若琳哭了,全紅嬋再獲至高榮耀,陳芋汐自愧不如!
顧龍炎 • 14K次觀看
「現役只有庫里才能帶我奪冠!」25+6球星正式申請買斷加盟勇士
伏嵐晨 • 4K次觀看